My Work
A collection of my creative endeavors

IT Homelab
Selfhosted server stack for AI, media & Smarthome
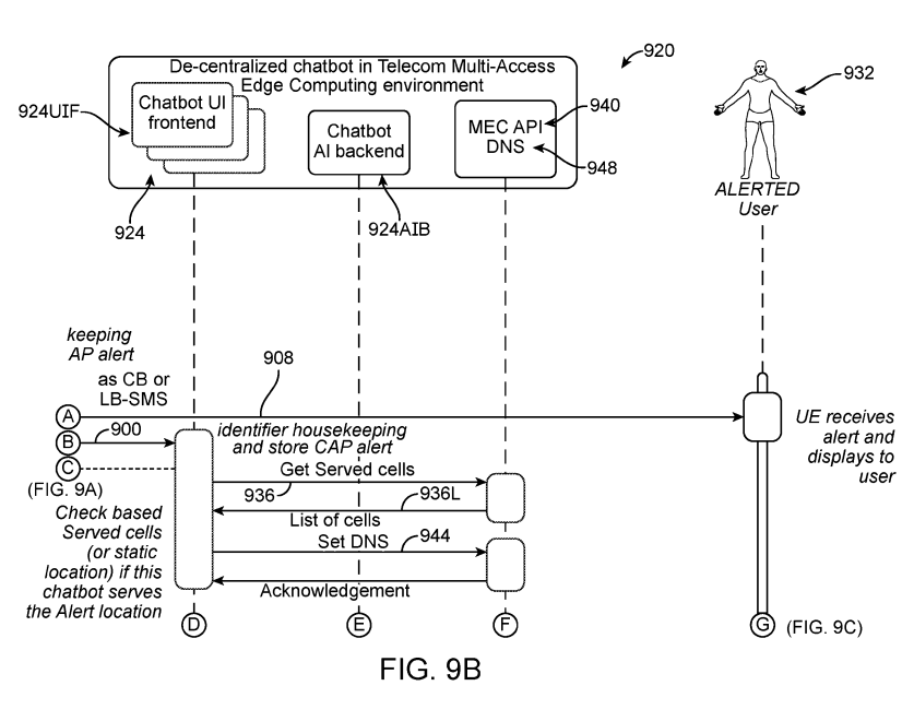
Patent - Alert Information Edge Distribution
Designed an AI-enabled chatbot with edge computing functionality at Everbridge, resulting in a published patent for dynamic alert-information systems.

VP Design System
Design & maintaining a Figma design system.
Self-service Kiosk Interaction Lab
Designed and developed a self-service kiosk with a touch interface for the University of Twente Interaction Lab, including 3D printed housing and Flutter app.
AI & Product Design - EU-funded Emergency Chatbot
Designed and developed an AI-powered chatbot for active disasters, integrated into Everbridge's Public Warning System. EU-funded and validated during a large-scale Red Cross exercise.
Game Jam - Out of Control
Placed #220 of 1700 entries in the Brackeys Game Jam 2021.2. A meta 2D platformer where dying breaks the screen and sucks you into reality.
Custom PC Build
Built a custom watercooled workstation PC for Machine Learning and development, featuring an RTX 3080 and custom loop cooling.
Augmented Reality - Boerenkerkhof AR
Lead developer of an AR mobile app that transforms a historic graveyard in Enschede into an interactive museum, with voiced 3D animations of buried persons' stories.
Web Development - PlaygroundVR
Completely rebuilt the PlaygroundVR website with focus on design, responsiveness, performance, SEO, and interactive 360-degree content.
BSc Thesis: Virtual Rowing
Bachelor thesis on using Virtual Reality to improve indoor rowing technique, combining VR motion tracking with an ergometer. Awarded a 9.
Game Development - New Media Project
Created a complete game from scratch for the Creative Technology curriculum, including modeling, animation, interaction code, and sound engineering. Awarded a 9.
Digital Photography
Attended a digital photography course at ArtEZ University of the Arts, learning DSLR camera techniques, composition, lighting and photo editing.
MSc Thesis - Interactive Pose Tracking for Climbing
Master thesis exploring interactive pose tracking as an in-action training tool for climbing, including a gamified warm-up prototype on an interactive climbing wall.
Dutch Design Week Demonstrator - BlueGreen Roofs VR
Created a physical Blue-Green Roof demonstrator combined with AR/VR for Dutch Design Week, aiming to encourage discourse on urban sustainability through citizen science design research.
Gamified Healthy Eating for Children - ACHIEVE
Built a Unity interactive installation for an EU research project, gamifying healthy food choices for children aged 3-7, demonstrated at Jumbo Leussink supermarket.
Machine Learning & NLP - Wappie Wartaal
Built a Twitter bot using Machine Learning and NLP to mimic COVID-19 misinformation spreaders, analyzing Dutch tweets with Python for a Natural Language Processing course.
Publishing a EU-funded Unity Asset - VR to Tablet
Created and published a Unity plugin with EU XR4ALL funding that makes VR applications compatible with touch devices, enabling cross-platform XR and mobile builds.
Publication - VR4VRT
Co-authored a research paper on Virtual Reality for Virtual Rowing Training, presenting three design iterations of an interactive rowing system using HTC Vive and a dynamic ergometer.
Publication - How Serious is Serious Game Design?
Co-authored a research paper on serious game design approaches, identifying four types of design methodologies spanning goal-oriented and entertainment- oriented strategies.
Startup - PlaygroundVR
Co-Owner and Lead Developer of PlaygroundVR, the virtual playground for children in hospitals where they can play and socialize while stuck in bed.
3D Modelling - Interactive Visualization
Created a detailed 3D replica of the fictional 'Wunderwaffe' weapon in Autodesk Maya, learning industry techniques like modelling, texturing, lighting and rendering.
Footsteps - An Emergent Social XR Travel Experience
XRCC hackathon finalist. Created a Mixed Reality travel guide that lets you walk in your friend's footsteps and discover their social media memories at the locations they were posted.
Interactive Pose-tracking Climbing System - IICW
An advanced climbing wall platform integrating LED-guided routes, force sensors, motion capture, and projection mapping for real-time data analysis and interactive feedback.
Cupra XR (Immersive Insiders XRCC)
Won second place at the XRCC automotive track in Berlin, creating an XR application for Cupra car accessories using Meta Quest 3.
Spain Civil Protection Website - ES-Alert Catalog
Built a full-stack web platform for Spain's Civil Protection Department to catalog all active and past emergency ES-Alert messages, running in production since December 2022.
VR Art Experience - Clouded
Consulted and developed on the VR Steam experience CLOUDED with UNI_VERSE studio. Selected for the Dutch Film Festival in the Digital Culture category.
VR - KLM Catering Training Simulation
Built a VR training simulation for KCS/KLM maintenance employees to practice recognizing and solving factory breakdowns without shutting down the production line.
Publication - SpiroPlay
Co-authored a research paper on SpiroPlay's breathing games for spirometry, published at ACM. Describes 11 interactive metaphors tested with 30 asthmatic children.
Mobile Game - Minesweeper
Created a polished, stylized Minesweeper game for Android with smooth animations, a unique soundtrack, custom-shaped levels, and an X-ray ability.
Lead Development - SpiroPlay
Lead developer of SpiroPlay, a multi-year collaboration creating breathing games that motivate children with asthma to take spirometry tests at home using interactive metaphors.
3D Animation - Animated Data Narration
Created a short film about the rising number of atomic weapons using data visualization and 3D animation techniques. Awarded an 8.5.
Internship Video Production
Produced two professional volunteer recruitment videos for foundation Zozijn during an internship at Weevers Grafimedia, working with high-end cameras and professional voice-overs.

IT Homelab
Selfhosted server stack for AI, media & Smarthome
Footsteps - An Emergent Social XR Travel Experience
XRCC hackathon finalist. Created a Mixed Reality travel guide that lets you walk in your friend's footsteps and discover their social media memories at the locations they were posted.
Patent - Alert Information Edge Distribution
Designed an AI-enabled chatbot with edge computing functionality at Everbridge, resulting in a published patent for dynamic alert-information systems.
Interactive Pose-tracking Climbing System - IICW
An advanced climbing wall platform integrating LED-guided routes, force sensors, motion capture, and projection mapping for real-time data analysis and interactive feedback.
MSc Thesis - Interactive Pose Tracking for Climbing
Master thesis exploring interactive pose tracking as an in-action training tool for climbing, including a gamified warm-up prototype on an interactive climbing wall.

VP Design System
Design & maintaining a Figma design system.
Cupra XR (Immersive Insiders XRCC)
Won second place at the XRCC automotive track in Berlin, creating an XR application for Cupra car accessories using Meta Quest 3.
Dutch Design Week Demonstrator - BlueGreen Roofs VR
Created a physical Blue-Green Roof demonstrator combined with AR/VR for Dutch Design Week, aiming to encourage discourse on urban sustainability through citizen science design research.
Self-service Kiosk Interaction Lab
Designed and developed a self-service kiosk with a touch interface for the University of Twente Interaction Lab, including 3D printed housing and Flutter app.
Spain Civil Protection Website - ES-Alert Catalog
Built a full-stack web platform for Spain's Civil Protection Department to catalog all active and past emergency ES-Alert messages, running in production since December 2022.
Gamified Healthy Eating for Children - ACHIEVE
Built a Unity interactive installation for an EU research project, gamifying healthy food choices for children aged 3-7, demonstrated at Jumbo Leussink supermarket.
AI & Product Design - EU-funded Emergency Chatbot
Designed and developed an AI-powered chatbot for active disasters, integrated into Everbridge's Public Warning System. EU-funded and validated during a large-scale Red Cross exercise.
VR Art Experience - Clouded
Consulted and developed on the VR Steam experience CLOUDED with UNI_VERSE studio. Selected for the Dutch Film Festival in the Digital Culture category.
Machine Learning & NLP - Wappie Wartaal
Built a Twitter bot using Machine Learning and NLP to mimic COVID-19 misinformation spreaders, analyzing Dutch tweets with Python for a Natural Language Processing course.
Game Jam - Out of Control
Placed #220 of 1700 entries in the Brackeys Game Jam 2021.2. A meta 2D platformer where dying breaks the screen and sucks you into reality.
VR - KLM Catering Training Simulation
Built a VR training simulation for KCS/KLM maintenance employees to practice recognizing and solving factory breakdowns without shutting down the production line.
Publishing a EU-funded Unity Asset - VR to Tablet
Created and published a Unity plugin with EU XR4ALL funding that makes VR applications compatible with touch devices, enabling cross-platform XR and mobile builds.
Custom PC Build
Built a custom watercooled workstation PC for Machine Learning and development, featuring an RTX 3080 and custom loop cooling.
Publication - SpiroPlay
Co-authored a research paper on SpiroPlay's breathing games for spirometry, published at ACM. Describes 11 interactive metaphors tested with 30 asthmatic children.
Publication - VR4VRT
Co-authored a research paper on Virtual Reality for Virtual Rowing Training, presenting three design iterations of an interactive rowing system using HTC Vive and a dynamic ergometer.
Augmented Reality - Boerenkerkhof AR
Lead developer of an AR mobile app that transforms a historic graveyard in Enschede into an interactive museum, with voiced 3D animations of buried persons' stories.
Mobile Game - Minesweeper
Created a polished, stylized Minesweeper game for Android with smooth animations, a unique soundtrack, custom-shaped levels, and an X-ray ability.
Publication - How Serious is Serious Game Design?
Co-authored a research paper on serious game design approaches, identifying four types of design methodologies spanning goal-oriented and entertainment- oriented strategies.
Web Development - PlaygroundVR
Completely rebuilt the PlaygroundVR website with focus on design, responsiveness, performance, SEO, and interactive 360-degree content.
Lead Development - SpiroPlay
Lead developer of SpiroPlay, a multi-year collaboration creating breathing games that motivate children with asthma to take spirometry tests at home using interactive metaphors.
BSc Thesis: Virtual Rowing
Bachelor thesis on using Virtual Reality to improve indoor rowing technique, combining VR motion tracking with an ergometer. Awarded a 9.
Startup - PlaygroundVR
Co-Owner and Lead Developer of PlaygroundVR, the virtual playground for children in hospitals where they can play and socialize while stuck in bed.
Game Development - New Media Project
Created a complete game from scratch for the Creative Technology curriculum, including modeling, animation, interaction code, and sound engineering. Awarded a 9.
3D Animation - Animated Data Narration
Created a short film about the rising number of atomic weapons using data visualization and 3D animation techniques. Awarded an 8.5.
3D Modelling - Interactive Visualization
Created a detailed 3D replica of the fictional 'Wunderwaffe' weapon in Autodesk Maya, learning industry techniques like modelling, texturing, lighting and rendering.
Digital Photography
Attended a digital photography course at ArtEZ University of the Arts, learning DSLR camera techniques, composition, lighting and photo editing.
Internship Video Production
Produced two professional volunteer recruitment videos for foundation Zozijn during an internship at Weevers Grafimedia, working with high-end cameras and professional voice-overs.